





目录
注意事项 1
系统简介 2
系统功能 3
系统特点 3
产品概述 4
技术参数 6
系统操作 7
尊敬的用户:
感谢您使用局部放电监测系统KF6901,在您初次使用该产品前,请您详细地阅读本使用说明书,将可帮助您正确使用本系统。
我们的宗旨是不断地改进和完善产品,如果您有不清楚之处,请及时与我们联系,我们会尽快给您答复。
注意事项:
l 使用产品时,请按说明书规范操作;
l 未经允许,请勿更改配置和安装方式;
l 本系统运行及安装,应注意环境温度和湿度,放在干燥通风的地方为宜,要防尘、防潮、防震、房酸碱及腐蚀气体;
l 设备运输时应避免雨水侵蚀,严防碰撞和坠落;
本手册内容如因升级而更改,恕不及时通告。
一.系统简介
KF-6901局放监测系统适用于高、中、低压电力开关柜内部及站内空间局部放电检测。它集在线地电波/超声波/特高频/测温-传感器(可配置)数据采集、数据监控、分析于一体的多功能局放检测产品,传感器采用高性能锂电池供电,吸附式和墙固式两种安装方式,Lora无线通讯等方式便于现场安装,而且在设计上采用了多种抗干扰措施,能够稳定不间断运行。
二、系统功能
1. 地电波/超声波/特高频/测温-传感器方式定时数据采集、处理。
2. 传感器通过 同轴有线/ Lora无线方式上传局放信号数据至数据采集单元。
3. 数据采集单元实时跟踪多个放电点故障,汇总均值、峰值、报警等级、图谱数据。
4. 数据采集单元综合分析故障趋势和类型,并上传至网关、服务器。
三、系统特点
1. 系统具备地电波/超声波/特高频/测温-传感器多种类型局放信号检测。
2. 具有参数配置功能,可进行主要参数编程设置。
3. 系统具有RS-485、以太网、Lora通讯接口。
4. 系统上传采用TCP/IP、ModBus协议通信。
5. 传感器通过同轴有线或Lora无线通信方式和数据采集单元通信。
6. 局放数据采集单元能同时支持上百以上传感器的数据接入处理。
四、产品概述
1. 系统架构
无线传感器采集开关柜的特高频局放信号,通过放大、滤波、转换等处理将局放信号特征数据传输给局放监测单元主机,再由局放监测主机对信号进一步分析处理,分析放电强度、相位、图谱等信息,综合判断局放类别及严重等级,最后用RS485或者TCP/IP的方式上传网关及远端服务器。

2. 多功能数据处理单元
多功能数据处理单元具备墙固式安装和磁吸式安装两种方式,负责下行 和传感器节点通信,上行网关和服务器上传数据。
3. 空间全向传感器
空间型特高频传感器采用墙固式安装,通常安装在整排开关柜附近区域,全向传感器的监测范围为有效半径60米。
工程安装案例示例:
4. 磁吸式传感器
磁吸式特高频传感器通常吸附在母线柜体内侧或外侧金属表面缝隙处或观察窗处,实时监测柜体局部放电状况,传感器具备有线、无线接口方式(可选)。
工程安装案例示例:
五、技术参数
(一)多功能局放传感器

u 外壳:天然色注塑料
u 尺寸:180mm×120mm×42.5mm
u 重量:1kg
u 工作环境温度:-25~80℃
u 耐温、耐湿:40℃±2℃及90%RH±3%RH、24h
u 电池参数:3.7v/4.2v内置锂电池
u 安装方式:磁吸式
u 电快速瞬变脉冲群抗扰度:3级
u 浪涌(冲击)抗扰度:Ⅰ类安装类别
u 静电放电抗扰度:4级
u 工频磁场抗扰度:5级
u 防护等级:IP65
u 传感器:电容式
u 测量范围:0~70dBmV
u 频率范围:1~100MHz
u 灵敏度:≥40dB
u 线性度误差:≤10%
u 分辨率:1dB
u 精度:±1dB
u 最大脉冲/周期数:1400
u 最小脉冲率:10Hz
u 测量范围:0dBuV~68dBuV(0.001mv~1.000mv)
u 分辨率:1dB
u 精度:±1dB
u 传感器灵敏度:-65 dB (0 dB=1 volt/μbar 有效值SPL)
u 频率范围:20~500 kHz
u 超声波谐振频率:40kHz
u 线性度误差:≤10%
u 传感器:UHF
u 测量范围:- 65dBm ~0dBm/-10~60 dBm
u 灵敏度:≤2.38mV/m
u 分辨率:±0.5dB
u 频率响应:300MHz~3000MHz
u 输出阻抗:50Ω
u 输出接口:BNC型
通讯参数
u 通信方式:无线lora
通信规约;Modbus
u 外壳:全铝壳
u 尺寸:190mm×100mm×43mm
u 重量:0.5kg
u 供电电压(V):100~240VAC,50Hz/60Hz
u 功率(W):15
u 工作环境温度:-25~80℃
u 工作环境湿度:≤99%
u 防护等级:IP65
u 误差值:≤±1dBm
u 记录条数:500000条
u 以太网口:2个
u 串口:RS-485 2个
u 通信规约;Modbus与网关通信
信号采集:lora、有线、红外
u 外壳:天然色注塑料
u 尺寸:320mm×270mm
u 重量:1kg
u 工作环境温度:-25~80℃
u 工作环境湿度:≤99%
u 防护等级:IP65
u 阻抗匹配:50Ω
u 驻波比:≤1
u 耐温、耐湿:40℃±2℃及90%RH±3%RH、24h
u 电快速瞬变脉冲群抗扰度:3级
u 静电放电抗扰度:4级
u 浪涌(冲击)抗扰度:Ⅰ类安装
u EMC试验:4级
u 工频磁场抗扰度:5级
u 抗老化性能:100℃高温箱中,试验7天,外壳不出现开裂、变形、变色现象
u 防雷试验:冲击电流8/20us,正负级各5次
u 绝缘性能:电压50Hz、3.5kV情况下,施压时间5min,外壳不击穿
u 低温冲击性能:将设备置于-25℃低温箱中,试验时间16h,外壳不出现开裂现象
u 防水等级:IP65
u 灵敏度(mm):≤2.5mV/m
u 信号带宽(MHz):300 ~3000
根据组网节点数量,相应监测终端服务器或PC显示监控界面如图

图6-1
2. 点击界面详情按钮,可以查看该所选传感器当次幅值详情,如果召测了图谱数据,也可以在详情中查看图谱数据
图6-2
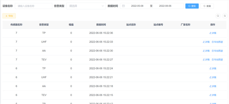
3. 历史查询
可以在历史查询查询历史的幅值以及图谱数据,可以通过设备名称、告警类型与数据时间来筛选符合条件的数据
通过导出按钮,可以将幅值数据导出成excel

4. 点击设置,可修改传感器节点名称,便于管理和维护。
5. 所有事件数据都可保存成*.hf文件,便于远程传送和保存分析。
6. 系统上行也可接入其它服务器及网关,遵循相应协议即可
Copyright © 扬州市科发电气有限公司地址:江苏省宝应县叶挺东路69号 备案号:苏ICP备09065284号-7技术支持:华夕网络[华夕建站]统计代码放置
管理员
该内容暂无评论